Suspension Shock Absorber Mount - Toyota (48750-16110)
Suspension Shock Absorber Mount - Toyota (48750-16110)
Genuine Toyota & Scion Parts
- Toyota
- 48750-16110
Details
- Brand:
- SKU:
48750-16110
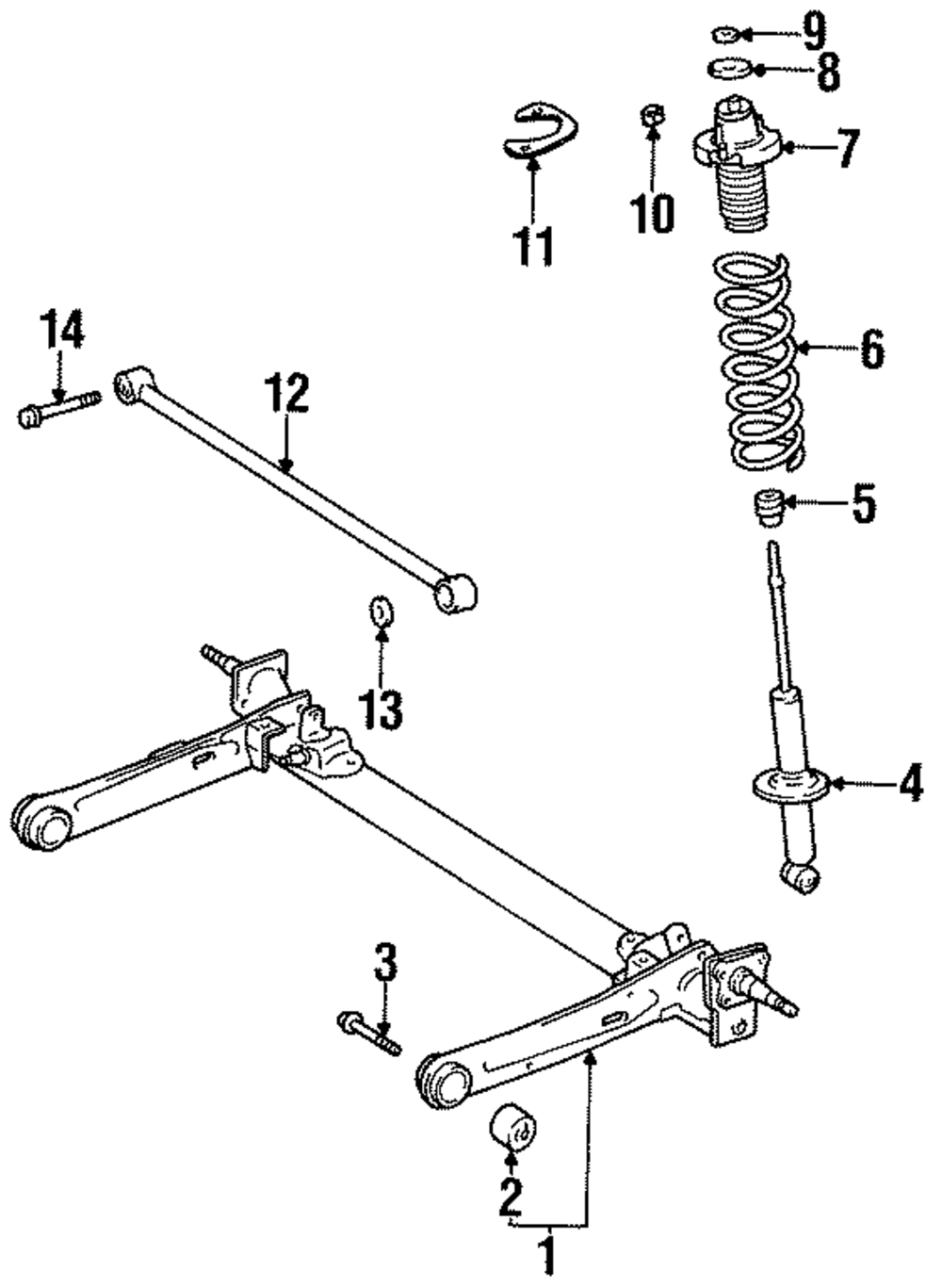
- Positions: Left Upper, Right Upper, Rear Upper
- Other Names:
Shock Mount, Upper Support, Support Assembly Rear Suspension
- Description:
Paseo.
- Condition: New
- Applications: PASEO, TERCEL.
Genuine Toyota & Scion Parts
- Toyota
- 48750-16110
Details
- Brand:
- SKU:
48750-16110
- Positions: Left Upper, Right Upper, Rear Upper
- Other Names:
Shock Mount, Upper Support, Support Assembly Rear Suspension
- Description:
Paseo.
- Condition: New
- Applications: PASEO, TERCEL.
Also Purchased
Vehicle Fitment
Select Your Vehicle Select
| Year | Make | Model | Body & Trim | Engine & Transmission |
|---|
Parts Molle Toyota
Purchase Genuine OEM Toyota parts online at Molle Toyota. We ship all genuine Toyota parts to all 50 states. Same day shipping available on many items. Order online or call (816) 942-5200.
